中国正义反腐网-《反腐廉政月刊》杂志社综合讯:成立仅仅4个月的深圳寓意物业管理公司日前被曝出将租金卷走,导致房东、租客均被骗,因该公司涉嫌合同诈骗,已经被立案调查。

▲深圳寓意物业管理公司日前被曝出将租金卷走,导致房东、租客均被骗。图为示意照。
据时间财经9月10日报道,近日,深圳警方陆续接到租客和房东报警说,深圳市寓意物业有限公司(深圳寓意物业)高价从房东(业主)手上租房,然后以低于市场的价格租给租户。
中介公司一次性向租客收取半年或一年的租金,却按月向房东支付房租。目前该中介公司将差额租金卷走,人去楼空,导致房东、租客均被骗,房东上门要求租客退房。

▲关于深圳寓意物业管理有限公司涉嫌合同诈骗案受损人线上登记报案的公告(图片来源:深圳龙岗公安微博截图)
据悉,深圳寓意物业管理有限公司涉嫌合同诈骗一案已于9月2日立案,并成立专案组展开侦查

▲“ 企查查”网站显示,深圳寓意物业管理有限公司(图片来源:“ 企查查”网站截图)
深圳寓意物业管理有限公司于2020年5月13日成立,上海寓意物业实际控股该公司。
而上海寓意物业也被央视在财经报道中提及,也是人去楼空,大门上张贴着不少公告,包括解约通知书、报案材料等。上海寓意物业爆雷波及了上海、杭州、苏州等地,涉案金额高达数十亿元人民币。
现在,这些被寓意物业欺骗的客户面临无房可住而交的一年租金及押金无法追回的窘境。

▲“ 企查查”网站显示,上海寓意物业管理有限公司(图片来源:“ 企查查”网站截图)

▲“ 企查查”网站显示,上海寓意物业管理有限公司涉及房屋租赁纠纷六十多起....(图片来源:“ 企查查”网站截图)
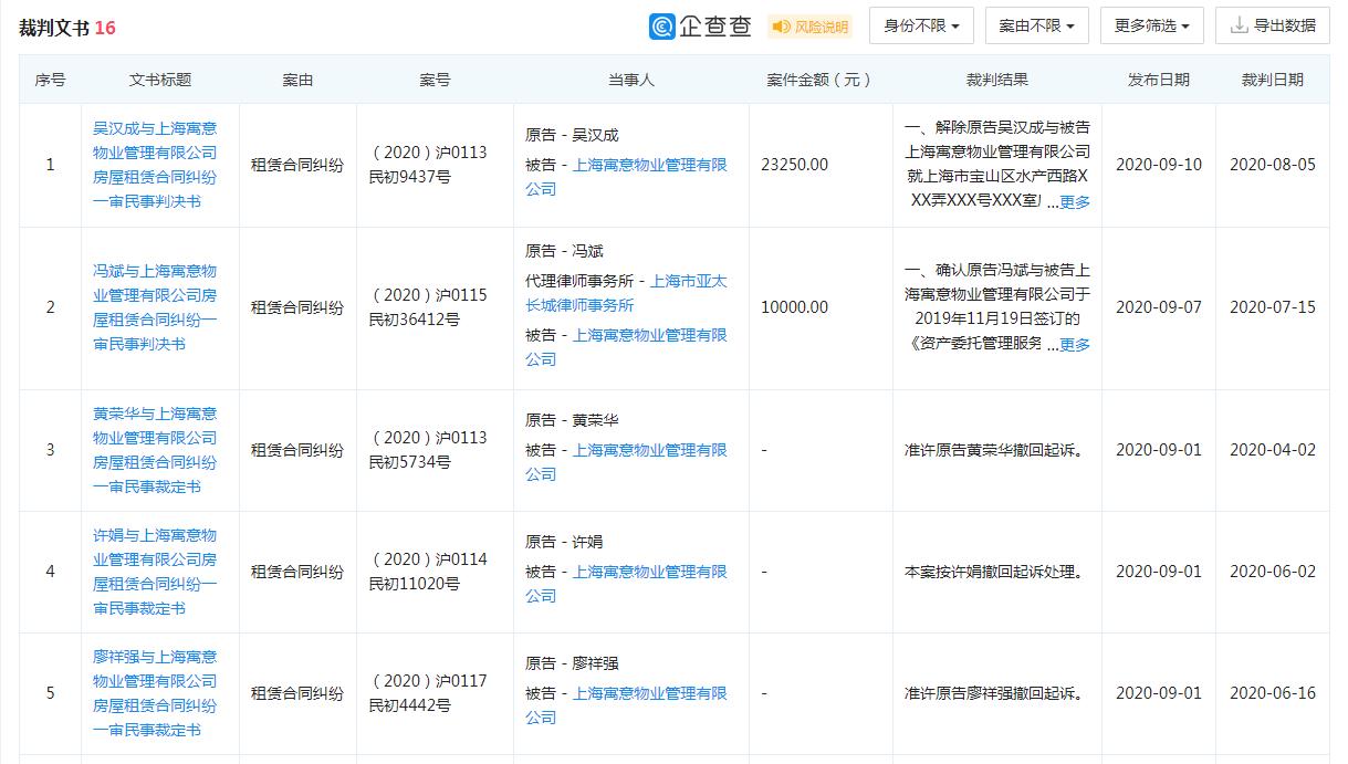
据“ 企查查”显示,上海寓意物业公司目前涉及房屋租赁纠纷六十多起,且有多条被执行信息。9月10日,“时间财经”记者拨打上海寓意物业公司官网上的客服电话,显示已暂停服务。
目前已经有租户在网上联名维权。
官网资料显示,上海寓意物业是一家分散式公寓租赁公司,目前已进驻杭州、上海、苏州、合肥四城,开设线下门店一百多家。截至2020年4月,已累积管理10,000+房源,成为10,000+业主和20,000+租客的选择。
北京金诉律师事务所主任王玉臣对此表示:“租客与平台签署的合同应是有效合同,后续租客的损失一般应当由长租公寓来承担,但这也是一个相对漫长的过程。”而如果合同中明确约定了公寓是受房东委托作为受托人进行公寓管理的话,严格从法律上讲,实际上房东也是要承担相应法律后果的。
对于长租公寓不断爆雷,律师王玉臣还表示,长租公寓频繁爆雷主要是自身运营模式问题,公司一次性取得高额租金收入,但给房东支付的时候却不是收到后全部一次性支付,而是按周期支付,这会造成大笔资金在公司手里停留。“不少长租公寓其实就是看上了这个周期差,挪用大笔资金进行其它投资,甚至不乏自己挥霍掉了。投资业务一旦资金不能及时回笼,爆雷就出现了。”
近来,中国长租公寓爆雷不断。
2020年8月6日,成都“巢客遇家”资金链断裂;8月27日,杭州友客公寓爆雷,同一天,上海乾顺房屋租赁被爆拖欠房东租金;9月1日,杭州适享公寓被曝“爆雷”跑路……
据贝壳研究院统计,2019年共有53家长租公寓倒闭,因资金链断裂跑路的有45家。另据每日经济新闻报道,今年上半年,有16家长租公寓倒闭。刚刚过去的8月份,再有十余家长租公寓被爆倒闭。
据《新京报》此前报道,全国约有22%的长租公寓相关企业存在过经营异常,近5%的相关企业曾受到过行政处罚或有过严重违法行为。
律师王玉臣对此表示:“目前,除对运营本身流程监管需要加强,如监管资金、规范租金贷等,对于相关运营人员,尤其是股东、实际控制人的监管也有待加强。从这些爆雷事件中不难看出,实际上有一些人是在某些地方用一个公司玩长租公寓爆雷后,又跑到另一个地方,又开始复制原来的套路,继续去做长租公寓,继续爆雷。”



分享



